

绿森林硅藻泥总经理孙中善
继梦天、索菲亚商标侵权案相继获胜之后,又一家家居企业成功打击傍名牌。
2019年8月初,吉林省绿森林环保科技有限公司(以下简称“绿森林硅藻泥”)向北京商报记者透露,已通过商标行政诉讼成功宣告十余个山寨商标无效。业内专家认为,随着家居企业知识产权意识的觉醒,商标维权渐成家居行业常态,傍名牌、恶意抢注商标乱象或将被抑制。
“绿森林”打掉十余山寨商标
“以前怕打草惊蛇,现在终于可以说了,十余个山寨商标已经全部被打掉。”2019年盛夏,绿森林硅藻泥总经理孙中善向北京商报记者展示了厚厚的一叠材料。
三份行政判决书、十二份裁定书是绿森林打掉山寨商标的证据。《北京知识产权法院行政判决书(2017)京73行初6369号》判决,驳回原告刘文彪的诉讼请求,“百姓绿森林BAIXINGLVSENLIN”商标无效;《北京知识产权法院行政判决书(2017)京73行初6884号》判决,驳回原告曾平的诉讼请求,“绿森林艺术呼吸”商标无效……
《商评字【2017】第0000080260号》(节选)

《北京知识产权法院行政判决书(2019)京73行初6369号》(节选)
“我们这次打假分两条线,一条是商标行政诉讼,百姓绿森林、金汭绿森林、吉远绿森林、健康绿森林、中州绿森林等十多个跟我们近似的商标被判无效,这些都是想抱我们大腿的;另外一条线就是民事诉讼,绿森林对百姓绿森林、吉远绿森林、雪山绿森林等三个品牌发起了民事诉讼,最高索赔额300万元,它们仿冒我们产品进行销售,让消费者形成误认。”孙中善表示,这次打假耗时数月,但成效不错。

(长春市新空间环保科技有限公司即百姓绿森林)
据了解,绿森林硅藻泥属于吉林省绿森林环保科技有限公司,是国内知名的新型环保建材的研发生产企业,自2010年成立以来,其生产销售的“绿森林”硅藻泥成为国内同行业知名产品,“绿森林硅藻泥”在建材领域获得了良好的口碑,截至2019年7月在全国开设了1500余家专卖店,年销售额达到10亿元左右。绿森林硅藻泥现有的注册商标包括“长白绿森林”、“绿森林小屋”、“长白山绿森林”以及绿森林商标图。

绿森林硅藻泥现有的注册商标
硅藻泥红火致商标仿冒成灾
近年来,纯天然、无污染,兼具装饰性和功能性的硅藻泥在家居墙饰材料中异军突起,江湖混战,诞生了像绿森林硅藻泥这样的大品牌,于是众多投机者争相傍名牌。

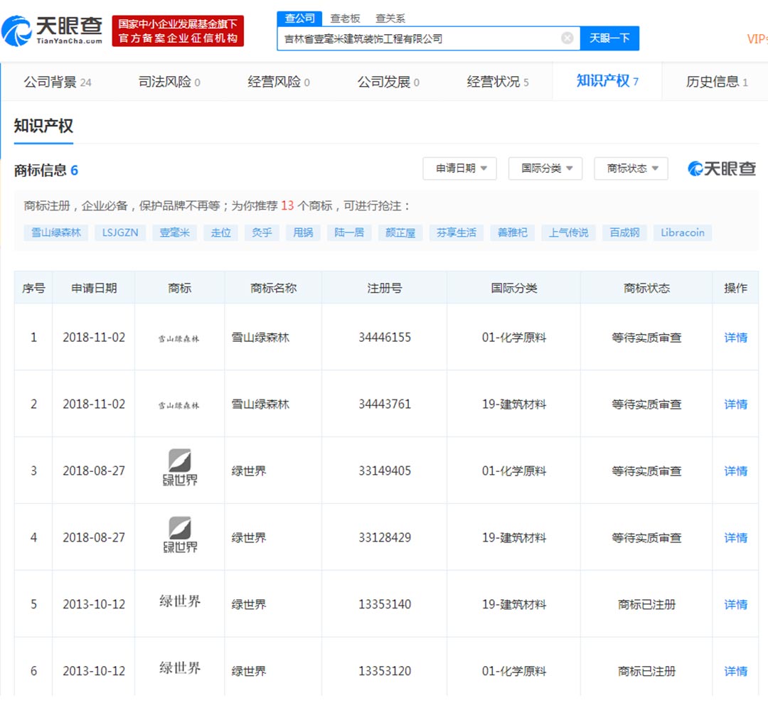
天眼查显示“雪山绿森林”商标状态为“等待实质审查”
雪山绿森林,就是众多仿冒绿森林硅藻泥的品牌之一。据国家知识产权局商标局中国商标网显示,“雪山绿森林”商标的申请人为吉林省壹毫米建筑装饰工程有限公司,申请日期为2018年11月02日。据天眼查显示,吉林省壹毫米建筑装饰工程有限公司成立于2013年9月16日,经营范围包括室内、外建筑装饰工程设计、施工等。虽然吉林省壹毫米建筑装饰工程有限公司申请了“雪山绿森林”的商标,但是在“商标状态”中却显示“等待实质审查”。
2019年7月30日,北京商报记者拨打雪山绿森林官网上的400电话,对方称官网正在维护中,与绿森林硅藻泥不是一个品牌。不过,很多数消费者却将雪山绿森林当成了绿森林硅藻泥。
2019年7月中旬的某天,家住长春市的消费者小张来到绿森林硅藻泥赛得广场店,想选一些花型图案,却被门店导购婉言拒绝。原来,小张拿的是一张“雪山绿森林”的合同,雪山绿森林与绿森林硅藻泥分属两个品牌,自然不能通用合同。更让小张诧异的是,雪山绿森林店面的导购在介绍产品种类、全国代理商数量与全国门店数量时,与绿森林硅藻泥门店导购介绍的几乎没有什么差别。“雪山绿森林金源大市场门店的导购跟我说,长春市所有的绿森林店面都是一个家,在哪儿选图案都行。”此外,雪山绿森林的产品包装与绿森林硅藻泥的产品包装也极其相似,正面的slogan“源自长白山”,背面的“主要成分”、“施工程序”等内容有很明显的仿冒痕迹。“这种仿冒我们产品进行销售的,足以让消费者形成误认,投机倒把。”孙中善表示,已经向雪山绿森林发起了民事诉讼。


淘宝网上,上图中排在第一行的便是绿森林真正的官方店铺,与“绿森林硅藻泥”相关的店铺有139家,山寨品牌充斥其中
不仅仅是雪山绿森林,百姓绿森林、吉远绿森林等品牌从名称、店面形象、产品包装、到宣传口号都在向绿森林硅藻泥靠拢,更多的仿冒品牌在网上公开销售。7月30日,北京商报记者打开淘宝,搜索“绿森林硅藻泥”,与之相关的店铺有139家,其中带有“绿森林”字样的就有几十家。绿森林硅藻泥厂家直销、吉远绿森林硅藻泥、百岳绿森林厂家直销、绿森林多彩硅藻泥正品……这些山寨品牌在迷惑消费者的同时,也使很多代理商“摸不着头脑”。
北京商报记者调查发现,大多数仿冒企业带着“绿森林硅藻泥”的商标,却没有涂料和墙面材料商品销售与服务的资质。
百姓绿森林的商标申请于2017年8月21日,申请人为“长春市新空间环保科技有限公司”。北京商报记者发现,在商标注册类别中,硅藻泥属于涂料类,实际归属于第2类中的0205《涂料、油漆及附料(不包括绝缘漆)》,与第19类中的1912《建筑用涂层,涂层(建筑材料)190129》有商品类似。长春市新空间环保科技有限公司注册的“绿森林”商标在19类中,只有树脂复合板(1901)、非金属耐火建筑材料(1907)、非金属铸模(1909)、非金属纪念标牌(1915)等,没有一条是与涂料和墙面材料有关联的。
吉远绿森林则明目张胆地用品牌名在淘宝上开起了店铺,售卖硅藻泥涂料。根据天眼查显示,吉远绿森林所属的吉林省吉远环保科技有限公司只成功注册了19类中的防火水泥涂层(1907)、建筑用沥青制成物(1908)、非金属建筑材料(1909)、非金属建筑物(1910)、制砖用粘合料(1913)等,但没有一条是与涂料和墙面材料有关联的。同时孙中善表示,也已经对吉远绿森林发起民事诉讼,索赔额200万元。

商标维权渐成家居品牌常态
家居企业的知识产权意识正在觉醒。
绿森林“品牌保卫战”首战告捷的前几个月,梦天、索菲亚等家居巨头在商标侵权案中纷纷胜诉。2019年4月,梦天诉“江山梦天”商标侵权案中,被告及其名下公司因侵犯“梦天”商标被判罚208.58万元;两个月后的2019年6月,“索菲亚”商标侵权赔偿案尘埃落定,被告被判赔偿高达830万元,两大家居巨头接连胜诉,让家居行业重拾对家居商标、设计等反侵权的信心。
与此同时,国家对于知识产权的保护力度也在加大,2019年7月24日举行的国务院政策例行吹风会上,国家知识产权局副局长赵刚表示,2019年上半年,中国在加强知识产权保护方面取得积极成效,高价值专利平均授权周期压缩至20.9个月,商标注册平均审查周期压缩至5个月,共完成发明专利授权23.8万件,同比增长9.9%,商标注册351.5万件,同比增长67.8%。
“打假压力不小,需要花费大量的人力、时间、金钱,对企业是不小的负担,而且可能给消费者一种感觉,绿森林假冒泛滥,但山寨品牌已经影响绿森林硅藻泥正常发展,许多慕名而来的消费者和合作商会被山寨品牌所误导,而且山寨品牌的产品质量不能保证,不得不打。”孙中善表示。
专家认为,随着中国家居行业发展日益成熟,家居企业越来越注重原创设计,对商标的管理和使用也日益精细,家居行业进入了一个以原创设计和品牌影响力提升竞争力的新阶段,在这样的新阶段,企业必然要加大对自身原创设计和商标的保护力度,未来品牌保护力度还会加大,企业“打假”将成为常态。


原作者:北京商报家居新闻






